Электронная
вычислительная машина
- комплекс технических и программных средств, предназначенный для автоматизации
подготовки и решения задач пользователя.
Архитектура
ЭВМ - это
многоуровневая иерархия аппаратно-программных средств, из которых строится ЭВМ.
Каждый из уровней допускает многовариантное построение и применение. Конкретная
реализация уровней определяет особенности структурного построения ЭВМ.
Архитектура
компьютера обычно определяется совокупностью ее свойств, существенных для
пользователя.
Основное
внимание при этом уделяется структуре и функциональным возможностям машины,
которые можно разделить на основные и дополнительные. Основные функции определяют назначение
ЭВМ: обработка и хранение информации, обмен информацией с внешними объектами.
Дополнительные функции повышают эффективность
выполнения основных функций: обеспечивают эффективные режимы ее работы, диалог
с пользователем, высокую надежность и др.
Названные
функции ЭВМ реализуются с помощью ее компонентов: аппаратных и программных
средств.
Функциональная организация ЭВМ
Кроме
аппаратной части и ПО ЭВМ включают большое количество функциональных средств.
Функциональную
организацию ЭВМ образуют:
Способы
реализации функций ЭВМ составляют структурную организацию ЭВМ. Тогда элементная
база, функциональные узлы и устройства ЭВМ, программные модули различных видов
(обработчики прерываний, драйверы, com-, exe-, bat- файлы и др.) являются структурными компонентами ЭВМ.
Состав
функциональных блоков и структурных средств неоднороден.
Совместимые
ЭВМ должны иметь одинаковую функциональную организацию. При неполной
совместимости применяют эмуляторы (программы преобразователи функциональных
элементов).
технические и эксплуатационные
характеристики ЭВМ:
Методы
оценки:
Наборы
тестов фирм-изготовителей (компания Intel ввела
показатель iCOMP для своих микропроцессоров)
Специализированные
тесты для конктретных областей (для тестирования
домашних ПК – 3DwinBench)
ВС – совокупность взаимосвязанных и взаимодействующих
процессоров или ЭВМ, периферийного оборудования и ПО, предназначенная для
сбора, хранения, обработки и распределения информации.
Отличие
ВС от ЭВМ
– наличие нескольких вычислителей, реализующих параллельную обработку.
Способы обработки данных:
По
способу организации обработки ВС делят на:

Многомашинные вычислительны системы (ММС)
обеспечивают:
повышения производительности, надежности и достоверности вычислений.
Здесь
возможны две ситуации:
o режим
повышенной достоверности
(обе машины решают одну и ту же задачу и периодически сверяют результаты
решения)
o режим повышенной производительности (обе машины работают
параллельно, но обрабатывают собственные потоки заданий. Возможность
обмена информацией между машинами сохраняется)
Каждая
из ЭВМ сохраняет возможность автономной работы и управляется собственной ОС.
Любая другая подключаемая ЭВМ комплекса рассматривается как специальное
периферийное оборудование.
Многомашинная
ВС содержит несколько ЭВМ, каждая из которых имеет
свою ОП и работает под управлением своей операционной системы, а также средства
обмена информацией между машинами.
Реализация
обмена информацией происходит, в конечном счете, путем взаимодействия
операционных систем машин между собой. Это ухудшает динамические характеристики
процессов межмашинного обмена данными.
Достаточно
в системе в каждой ЭВМ выйти из строя по одному устройству (даже разных типов),
как вся система становится неработоспособной.
Многопроцессорные вычислительные системы (МПС)
строятся
при комплексировании нескольких процессоров. Общая оперативная память (ООП) в
МПС используется в качестве общего ресурса. Параллельная работа процессоров и
использование ООП обеспечивается под управлением единой общей операционной
системы. По сравнению с ММС здесь достигается наивысшая оперативность
взаимодействия вычислителей - процессоров.
Недостатки
МПС:
Создание
подобных коммутаторов представляет сложную техническую задачу, тем более что
они должны быть дополнены буферами для организации очередей запросов. Для
разрешения конфликтных ситуаций необходимы схемы приоритетного обслуживания.
Классификация по характеру устройсв:
По управлению:
·
Централизованные. В централизованных ВС все функции управления
сосредоточены в одном элементе, в качестве которого используется одна из ЭВМ,
называемая машиной-директором или центральным процессором;
·
Децентрализованные. В децентрализованной ВС каждый процессор или
ЭВМ действуют автономно, решая свои задачи;
·
Смешенные. В
системе со смешенным управлением ВС разбивается на
группы взаимодействующих ЭВМ (или процессоров), в каждой из которых
осуществляется централизованное управление, а между группами -
децентрализованное.
По
назначению:
·
Универсальные. Предназначены
для решения широкого круга задач;
·
Специализированные. Предназначены
для решения определённого круга задач. Они, как правило, должны иметь
аппаратурные и программные средства, предназначенные специально для этой
системы.
Многопроцессорные
системы и ММС могут иметь одноуровневую или иерархическую
(многоуровневую) структуру. Обычно менее мощная машина (машина-сателлит) берет
на себя ввод информации с различных терминалов и ее предварительную обработку,
разгружая от этих сравнительно простых процедур основную, более мощную ЭВМ, чем
достигается увеличение общей производительности (пропускной способности) комплекса.
В качестве машин-сателлитов используют малые или микро-ЭВМ.
ЛВС – система распределенной
обработки данных, охватывающая небольшую территорию (диаметром до 10 км) внутри
учреждений, НИИ, вузов, банков, офисов и т.п. ЛВС – это система
взаимосвязанных и распределенных на фиксированной территории средств передачи и
обработки информации, ориентированных на коллективное использование
общественных ресурсов (аппаратных, информационных, программных).
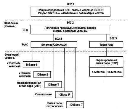
В
1980 году в институте IEEE был организован комитет 802 по стандартизации
локальных сетей, в результате работы которого было принято семейство стандартов
IEEE 802-х, которые содержат рекомендации по проектированию нижних уровней
локальных сетей.
Стандарты IEEE 802 описывают методы доступа и логику
взаимодействия узлов в сети. Метод доступа – правило, по которому станция
получает право на передачу данных в единой передающей среде.
Стандарты
IEEE 802 охватывают только два нижних уровня семиуровневой эталонной модели
OSI, а именно физический и канальный. Это связано с тем, что именно эти уровни
в наибольшей степени отражают специфику локальных сетей.
Общеконцептуальные стандарты:
В
спецификации IEEE 802 канальный уровень разделяется на уровень управления
логическим каналом (Logical Link
Control, LLC) и уровень управления доступом к
носителю (Media Access Control, MAC).
Уровень MAC появился из-за существования в локальных сетях
разделяемой среды передачи данных. Именно этот уровень обеспечивает корректное
совместное использование общей среды, предоставляя ее в соответствии с
определенным алгоритмом в распоряжение той или иной станции сети. После того
как доступ к среде получен, ею может пользоваться более высокий уровень -
уровень LLC, организующий передачу логических единиц данных, кадров информации,
с различным уровнем качества транспортных услуг. В современных локальных сетях
получили распространение несколько протоколов уровня MAC, реализующих различные
алгоритмы доступа к разделяемой среде. Эти протоколы полностью определяют
специфику таких технологий, как Ethernet, Fast Ethernet, Gigabit Ethernet, Token Ring, FDDI, l00VG-AnyLAN.
Уровень LLC отвечает за передачу кадров данных между узлами с
различной степенью надежности, а также реализует функции интерфейса с
прилегающим к нему сетевым уровнем. Именно через уровень LLC сетевой протокол
запрашивает у канального уровня нужную ему транспортную операцию с нужным
качеством. На уровне LLC существует несколько режимов работы, отличающихся
наличием или отсутствием на этом уровне процедур восстановления кадров в случае
их потери или искажения, то есть отличающихся качеством транспортных услуг
этого уровня.
Протоколы уровней
MAC и LLC взаимно независимы - каждый протокол уровня MAC может применяться с
любым протоколом уровня LLC, и наоборот.
Типичными
методами доступа в ЛВС, являются:
Ethernet (метод случайного доступа, IEEE
802.3)
Метод
доступа к среде в технологии Ethernet является
вариантом метода CSMA/CD, а именно метод CSMA/CD с двоичной экспоненциальной
отсрочкой.
Разработан
xerox в 1975г. Используется в ЛВС с шинной топологией
(все компьютеры параллельно подключаются к одной линии связи). Каждая РС перед
началом передачи определяет, свободен канал или занят. Если канал свободен, РС
осуществляет передачу данных пакетами. Из-за различных системных задержек могут
возникнуть коллизии. Тогда станция задерживает передачу на определенное время.
Для каждой РС устанавливается свое время ожидания перед повторной передачей
пакета. Коллизии приводят к снижению быстродействия только при большом
количестве активных РС (80-100).
Token Ring
(маркерное кольцо, IEEE 802.5)
Разработан
IBM. Используется в ЛВС с кольцевой топологией (компьютеры последовательно
объединены в кольцо, передача информации в кольце всегда производится только в
одном направлении). В качестве маркера используется уникальная
последовательность битов. Маркер не имеет адреса и может находится
в одном из 2-х состояний – свободен или занят. Если ни одна РС не готова к
передаче, свободный маркер циркулирует по кольцу. РС, имеющая
пакет для передачи захватывает маркер, меняет его состояние на занятый,
присоединяет к нему пакет для передачи и отправляет его по кольцу. Занятый
маркер возвращается к станции-отправителю, при этом при переходе через кольцо с
пакета снимается копия. Станция отправитель удаляет свой пакет, меняет
состояние маркера на свободный и отправляет его по
кольцу. Существует возможность передачи маркеров станциям с учетом их
приоритетов.

Arcnet (маркерная шина, IEEE 802.4)
Разработан фирмой DataPoint.
Используется в ЛВС топологии шина и звезда (к одному центральному компьютеру
присоединяются остальные периферийные компьютеры, причем каждый из них
использует отдельную линию связи). Маркер создается одной из станций сети и
имеет адресное поле, где указывается № станции
владеющей маркером. Последовательность передачи маркера задается управляющей
станцией. РС, последовательно получающие маркер
образуют логическое кольцо. Станция, получившая маркер передает сво пакет в шину или посылает маркер следующей РС согласно
установленному порядку. РС назначения отцепляет пакет от маркера и передает его
следующей РС.
Voice
Grade (100Base-VG, IEEE 802.12)
используют
звездообразную схему сетевых объектов с помощью соединения типа точка-точка.
Эта разновидность сети может работать через кабельную инфраструктуру
стандартной сети 10BASE-T. Станции подключаются к сети через концентратор (Hub). Когда станция желает что-либо передать, она посылает
сигнал определенной частоты. Начало обмена стартует только
после получения разрешения (сигнал специальной частоты, посылаемый
концентратором. Широковещательные и мультикатинг-запросы обслуживаются в соответствии со схемой
“запомнить и передать”. В одно и то же время допускается прием или передача
только одного пакета. Для предоставления доступа используется карусельный
принцип, что делает эту сеть весьма удобной для небольших рабочих групп и для
решения задач управления в реальном масштабе времени. Имеется возможность и
приоритетного обслуживания. В сети используется схема кодирования 5B/6B.
http://sesia5.ru/lokseti/s312.htm
Интернет —
всемирная система добровольно объединённых компьютерных сетей, построенная на
использовании протокола IP и маршрутизации пакетов данных. Объединение сетей
разной архитектуры и топологии стало возможно благодаря протоколу IP (сокр. от
англ. Internet Protocol) и
принципу маршрутизации пакетов данных.
Протокол TCP/IP – это семейство программно реализованных протоколов
старшего уровня, не работающих с аппаратными прерываниями. Технически TCP/IP
состоит из двух частей IP и TCP.
Протокол IP (межсетевой протокол) реализует распространение
информации в сети. Выполняется на 3 уровне модели OSI. Протокол IP обеспечивает
доставку пакетов, его основная задача – маршрутизация пакетов. Он не отвечает
за надежность доставки, целостность информации и сохранение порядка потока
пакетов.
Высокоуровневый протокол TCP (протокол управления передачей) –
протокол с установлением логического соединения между отправителем и
получателем. Осуществляет контроль целостности информации, сохраняет порядок
потока пакетов. Каждая РС, входящая в состав глобальной или локальной сети
имеет уникальный адрес, который включает две части, определяющие адрес сети и адрес
внутри сети.
Модуль
TCP обеспечивает защиту от повреждения, потери, дублирования и нарушения
очередности получения данных.
Для
адресации узлов сети Интернет и расположенных на них сетевых ресурсов в удобной
для человека форме служит доменное имя.
Домен
— область
иерархического пространства доменных имён сети Интернет, которая обозначается
уникальным доменным именем. Доменное имя — символьное имя домена. Должно быть
уникальным в рамках одного домена. Полное имя домена состоит из имён всех
доменов, в которые он входит, разделённых точками. Например,
полное имя org.wikipedia.edu. (с точкой в конце) обозначает домен третьего
уровня org, который входит в домен второго уровня wikipedia, который входит в домен edu,
который входит в корневой домен.
DNS
(англ. Domain Name System — система доменных имён) — распределённая система
(распределённая база данных), способная по запросу, содержащему доменное имя
хоста (компьютера или другого сетевого устройства), сообщить IP адрес или (в
зависимости от запроса) другую информацию. Как частный случай, DNS может
хранить и обрабатывать и обратные запросы, определения имени хоста по его IP
адресу.
Кратко:Для разрешения доменного имени в
IP-адрес и наоборот служит система DNS.
Эта
система состоит из иерархической структуры DNS-серверов, каждый из которых
является держателем одной или нескольких доменных зон и отвечает на запросы,
касающиеся этой зоны, а также DNS-резолверов, которые
отвечают на запросы, касающиеся любых зон. Функции держателя зоны и резолвера часто совмещаются в одной программе, например,
таковым является популярный DNS-сервер BIND (Berkeley
Internet Name Domain). Структура DNS иерархична, каждый DNS-сервер несет
ответственность за собственную зону и знает адрес вышестоящего/нижестоящего
сервера. Для обеспечения уникальности и защиты прав владельцев доменные имена
1-го и 2-го (в отдельных случаях и 3-го) уровней можно использовать только
после их регистрации, которая производится уполномоченными на то
регистраторами.
Информационно-вычислительные сети включают вычислительные сети,
предназначенные для
распределенной обработки данных (совместное использование
вычислительных мощностей), и
информационные сети, предназначенные для совместного
использования информационных ресурсов.
Сетевая технология обработки информации весьма эффективна, так
как предоставляет пользователю
необходимый сервис для коллективного решения различных
распределенных прикладных задач,
увеличивает степень использования
имеющихся в сети ресурсов (информационных, вычислительных,
коммуникационных)
и обеспечивает удаленный доступ к ним.
Грид
Дословный перевод Grid - решетка. В действительности название Грид объясняется некоторой
аналогией с электрическими сетями (POWER Grid).
POWER GRID - сеть электропитания,
распределенный ресурс общего пользования, когда каждый может
легко подключиться через розетку
и взять электричества, сколько ему требуется.
Грид
- это распределенная программно-аппаратная компьютерная среда, с принципиально новой
организацией вычислений и управления потоками заданий и данных.
Такая компьютерная
инфраструктура предназначена для объединения вычислительных
мощностей различных организаций.
Более того, на основе технологии Грид
предполагается формирование региональных и даже
национальных вычислительных компьютерных инфраструктур для
создания объединенных
интернациональных ресурсов, предназначенных для решения крупных
научно-технических задач. Как
и в случае электрических сетей, в Грид
предполагается интегрировать большой объем географически
удаленных компьютерных ресурсов. В идеальном случае пользователя
не будет интересовать где
находятся используемые им ресурсы (в этом и заключается аналогия
с сетью электропитания).
По сути, Грид является “надстройкой” над Интернетом. Ее основное
назначение - организация
распределенных вычислений для решения серьезных задач науки и
технологии. В отличие от
запутанной и бесструктурной Паутины WWW, решетка Грид - строго упорядоченная система.
SOA
Сервис-ориентированная
архитектура (service-oriented architecture,
SOA) – подход к разработке
программного
обеспечения, основанный на
использовании сервисов (служб)
со
стандартизированными интерфейсами.
В самом общем виде SOA
предполагает наличие трех основных участников: поставщика сервиса,
потребителя сервиса и реестра сервисов. Взаимодействие
участников выглядит достаточно просто: поставщик сервиса регистрирует свои
сервисы в реестре, а потребитель обращается к реестру
с запросом.